Why kafka

-
轻量级,快速,部署使用方便
-
支持灵活的路由配置。RabbitMQ中,在生产者和队列之间有一个交换器模块。根据配置的路由规则,生产者发送的消息可以发送到不同的队列中。路由规则很灵活,还可以自己实现。
-
RabbitMQ的客户端支持大多数的编程语言,支持AMQP协议。

-
如果有大量消息堆积在队列中,性能会急剧下降
-
每秒处理几万到几十万的消息。如果应用要求高的性能,不要选择RabbitMQ。
-
RabbitMQ是Erlang开发的,功能扩展和二次开发代价很高。
-
RocketMQ主要用于有序,事务,流计算,消息推送,日志流处理,binlog分发等场景。
-
经过了历次的双11考验,性能,稳定性可靠性没的说。
-
java开发,阅读源代码、扩展、二次开发很方便。
-
对电商领域的响应延迟做了很多优化。
-
每秒处理几十万的消息,同时响应在毫秒级。如果应用很关注响应时间,可以使用RocketMQ。
-
性能比RabbitMQ高一个数量级。
-
支持死信队列,DLX 是一个非常有用的特性。它可以处理异常情况下,消息不能够被消费者正确消费而被置入死信队列中的情况,后续分析程序可以通过消费这个死信队列中的内容来分析当时所遇到的异常情况,进而可以改善和优化系统。
-
Kafka高效,可伸缩,消息持久化。支持分区、副本和容错。
-
对批处理和异步处理做了大量的设计,因此Kafka可以得到非常高的性能。
-
每秒处理几十万异步消息消息,如果开启了压缩,最终可以达到每秒处理2000w消息的级别。
-
但是由于是异步的和批处理的,延迟也会高,不适合电商场景。
What Kafka
-
Producer API:允许应用程序将记录流发布到一个或多个Kafka主题。
-
Consumer API:允许应用程序订阅一个或多个主题并处理为其生成的记录流。
-
Streams API:允许应用程序充当流处理器,将输入流转换为输出流。

-
直接指定消息的分区 -
根据消息的key散列取模得出分区 -
轮询指定分区。
-
broker接收来自生产者的消息,为消息设置偏移量,并提交消息到磁盘保存。
-
broker为消费者提供服务,响应读取分区的请求,返回已经提交到磁盘上的消息。
-
一个分区由多个LogSegment组成,
-
一个LogSegment由.log .index .timeindex组成
-
.log追加是顺序写入的,文件名是以文件中第一条message的offset来命名的
-
.Index进行日志删除的时候和数据查找的时候可以快速定位。
-
.timeStamp则根据时间戳查找对应的偏移量。
How Kafka
-
高吞吐量:单机每秒处理几十上百万的消息量。即使存储了TB及消息,也保持稳定的性能。
-
零拷贝 减少内核态到用户态的拷贝,磁盘通过sendfile实现DMA 拷贝Socket buffer
-
顺序读写 充分利用磁盘顺序读写的超高性能
-
页缓存mmap,将磁盘文件映射到内存, 用户通过修改内存就能修改磁盘文件。
-
-
高性能:单节点支持上千个客户端,并保证零停机和零数据丢失。
-
持久化:将消息持久化到磁盘。通过将数据持久化到硬盘以及replication防止数据丢失。
-
分布式系统,易扩展。所有的组件均为分布式的,无需停机即可扩展机器。
-
可靠性 – Kafka是分布式,分区,复制和容错的。
-
客户端状态维护:消息被处理的状态是在Consumer端维护,当失败时能自动平衡。
-
日志收集:用Kafka可以收集各种服务的Log,通过大数据平台进行处理;
-
消息系统:解耦生产者和消费者、缓存消息等;
-
用户活动跟踪:Kafka经常被用来记录Web用户或者App用户的各种活动,如浏览网页、搜索、点击等活动,这些活动信息被各个服务器发布到Kafka的Topic中,然后消费者通过订阅这些Topic来做运营数据的实时的监控分析,也可保存到数据库;
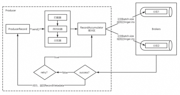
生产消费基本流程

-
Producer创建时,会创建一个Sender线程并设置为守护线程。
-
生产的消息先经过拦截器->序列化器->分区器,然后将消息缓存在缓冲区。
-
批次发送的条件为:缓冲区数据大小达到batch.size或者linger.ms达到上限。
-
批次发送后,发往指定分区,然后落盘到broker;
-
acks=0只要将消息放到缓冲区,就认为消息已经发送完成。
-
acks=1表示消息只需要写到主分区即可。在该情形下,如果主分区收到消息确认之后就宕机了,而副本分区还没来得及同步该消息,则该消息丢失。
-
acks=all (默认)首领分区会等待所有的ISR副本分区确认记录。该处理保证了只要有一个ISR副本分区存活,消息就不会丢失。
-
-
如果生产者配置了retrires参数大于0并且未收到确认,那么客户端会对该消息进行重试。
-
落盘到broker成功,返回生产元数据给生产者。
-
Kafka会在Zookeeper上针对每个Topic维护一个称为ISR(in-sync replica)的集合;
-
当集合中副本都跟Leader中的副本同步了之后,kafka才会认为消息已提交;
-
只有这些跟Leader保持同步的Follower才应该被选作新的Leader;
-
假设某个topic有N+1个副本,kafka可以容忍N个服务器不可用,冗余度较低
-
如果ISR中的副本都丢失了,则:
-
可以等待ISR中的副本任何一个恢复,接着对外提供服务,需要时间等待;
-
从OSR中选出一个副本做Leader副本,此时会造成数据丢失;
-
-
LEO:即日志末端位移(log end offset),记录了该副本日志中下一条消息的位移值。如果LEO=10,那么表示该副本保存了10条消息,位移值范围是[0, 9]。
-
HW:水位值HW(high watermark)即已备份位移。对于同一个副本对象而言,其HW值不会大于LEO值。小于等于HW值的所有消息都被认为是“已备份”的(replicated)。
-
组成员数量发生变化 -
订阅主题数量发生变化 -
订阅主题的分区数发生变化
-
原理是按照消费者总数和分区总数进行整除运算平均分配给所有的消费者;
-
订阅Topic的消费者按照名称的字典序排序,分均分配,剩下的字典序从前往后分配;
kafka-topics.sh
--zookeeper localhost:2181/myKafka
--create --topic topic_x
--partitions 1
--replication-factor 1kafka-topics.sh
--zookeeper localhost:2181/myKafka
--delete --topic topic_xkafka-topics.sh
--zookeeper localhost:2181/myKafka
--alter --topic topic_x
--config max.message.bytes=1048576kafka-topics.sh
--zookeeper localhost:2181/myKafka
--describe
--topic topic_x

-
大小分片 当前日志分段文件的大小超过了 broker 端参数 log.segment.bytes 配置的值;
-
时间分片 当前日志分段中消息的最大时间戳与系统的时间戳的差值大于log.roll.ms配置的值;
-
索引分片 偏移量或时间戳索引文件大小达到broker端 log.index.size.max.bytes配置的值;
-
偏移分片 追加的消息的偏移量与当前日志分段的偏移量之间的差值大于 Integer.MAX_VALUE;
一致性

ProducerID:#在每个新的Producer初始化时,会被分配一个唯一的
PIDSequenceNumber:#对于每个PID发送数据的每个Topic都对应一个从0开始单调递增的SN值
-
使用 Zookeeper 的分布式锁选举控制器,并在节点加入集群或退出集群时通知控制器。
-
控制器负责在节点加入或离开集群时进行分区Leader选举。
-
控制器使用epoch忽略小的纪元来避免脑裂:两个节点同时认为自己是当前的控制器。
可用性
-
创建Topic的时候可以指定 –replication-factor 3 ,表示不超过broker的副本数
-
只有Leader是负责读写的节点,Follower定期地到Leader上Pull数据。
-
ISR是Leader负责维护的与其保持同步的Replica列表,即当前活跃的副本列表。如果一个Follow落后太多,Leader会将它从ISR中移除。选举时优先从ISR中挑选Follower。
-
设置 acks=all 。Leader收到了ISR中所有Replica的ACK,才向Producer发送ACK。
面试题
线上问题rebalance
因集群架构变动导致的消费组内重平衡,如果kafka集内节点较多,比如数百个,那重平衡可能会耗时导致数分钟到数小时,此时kafka基本处于不可用状态,对kafka的TPS影响极大。
-
组成员数量发生变化
-
订阅主题数量发生变化
-
订阅主题的分区数发生变化
组成员崩溃和组成员主动离开是两个不同的场景。因为在崩溃时成员并不会主动地告知coordinator此事,coordinator有可能需要一个完整的session.timeout周期(心跳周期)才能检测到这种崩溃,这必然会造成consumer的滞后。可以说离开组是主动地发起rebalance;而崩溃则是被动地发起rebalance。

解决方案:
加大超时时间 session.timout.ms=6s
加大心跳频率 heartbeat.interval.ms=2s
增长推送间隔 max.poll.interval.ms=t+1 minutesZooKeeper 的作用
-
存放元数据是指主题分区的所有数据都保存在 ZooKeeper 中,其他“人”都要与它保持对齐。
-
成员管理是指 Broker 节点的注册、注销以及属性变更等 。
-
Controller 选举是指选举集群 Controller,包括但不限于主题删除、参数配置等。
Replica副本的作用
-
自 Kafka 2.4 版本开始,社区可以通过配置参数,允许 Follower 副本有限度地提供读服务。
-
之前确保一致性的主要手段是高水位机制, 但高水位值无法保证 Leader 连续变更场景下的数据一致性,因此,社区引入了 Leader Epoch 机制,来修复高水位值的弊端。
为什么不支持读写分离?
-
自 Kafka 2.4 之后,Kafka 提供了有限度的读写分离。
-
场景不适用。读写分离适用于那种读负载很大,而写操作相对不频繁的场景。
-
同步机制。Kafka 采用 PULL 方式实现 Follower 的同步,同时复制延迟较大。
如何防止重复消费
-
代码层面每次消费需提交offset;
-
通过Mysql的唯一键约束,结合Redis查看id是否被消费,存Redis可以直接使用set方法;
-
量大且允许误判的情况下,使用布隆过滤器也可以;
如何保证数据不会丢失
-
生产者生产消息可以通过comfirm配置ack=all解决;
-
Broker同步过程中leader宕机可以通过配置ISR副本+重试解决;
-
消费者丢失可以关闭自动提交offset功能,系统处理完成时提交offset;
如何保证顺序消费
-
单 topic,单partition,单 consumer,单线程消费,吞吐量低,不推荐;
-
如只需保证单key有序,为每个key申请单独内存 queue,每个线程分别消费一个内存 queue 即可,这样就能保证单key(例如用户id、活动id)顺序性。
【线上】如何解决积压消费
-
修复consumer,使其具备消费能力,并且扩容N台;
-
写一个分发的程序,将Topic均匀分发到临时Topic中;
-
同时起N台consumer,消费不同的临时Topic;
如何避免消息积压
-
提高消费并行度 -
批量消费
-
减少组件IO的交互次数 -
优先级消费
if (maxOffset - curOffset > 100000) {
// TODO 消息堆积情况的优先处理逻辑
// 未处理的消息可以选择丢弃或者打日志
return ConsumeConcurrentlyStatus.CONSUME_SUCCESS;}
// TODO 正常消费过程
return ConsumeConcurrentlyStatus.CONSUME_SUCCESS;如何设计消息队列
-
一致性:生产者的消息确认、消费者的幂等性、Broker的数据同步;
-
可用性:数据如何保证不丢不重、数据如何持久化、持久化时如何读写;
-
分区容错:采用何种选举机制、如何进行多副本同步;
-
海量数据:如何解决消息积压、海量Topic性能下降;
来源